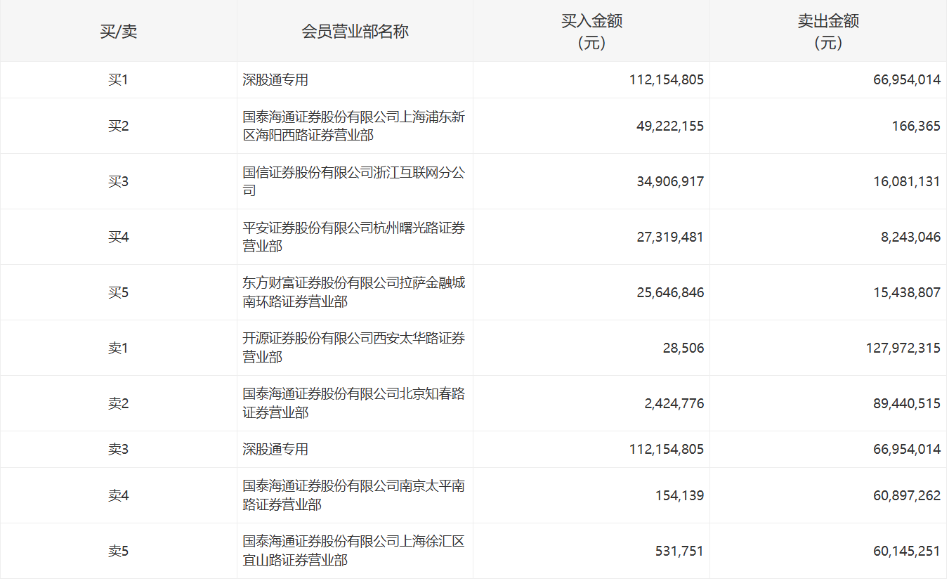
人民财讯3月23日电,东方新能今日涨停,成交额31.95亿元,换手率20.29%。盘后龙虎榜数据显示,深股通专用席位买入1.12亿元并卖出6695.40万元;开源证券西安太华路营业部净卖出1.28亿元。
创元网配资提示:文章来自网络,不代表本站观点。
本文评分*
评论内容*
你的昵称*
你的邮箱*
简配资 东方新能今日涨停 开源证券西安太华路营业部净卖出1.28亿元
宝货配资 V观财报|股价盘中跌停,协创数据称公司合规经营
牛壹佰 银星能源3月20日龙虎榜数据
融通资产 欧元区2月CPI同比上升1.9% 初步数据为上升1.9%
联美配资 看见车上有这种“装饰”,请立刻报警!